Products
Plugs & Wiring parts
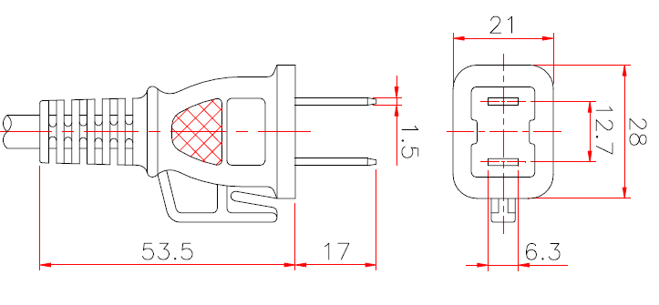
Japan 2-Pin Non-Grounded, Straight AC Plug, 15A 125V
Plug P/No
PHP-221Voltage
125VAMP
15AColor
Black or customized products can be offered upon requestsMaterial
PVCMin. Order Q’ty
1000PCSProduction capacity
500000PCS/MonthCertificate






.png)













